Zurück   www.sondersignalanlagen.com > Dachbalken > Hella RTK + OWS
Kennwort vergessen?

Hinweise

Antwort
 
Themen-Optionen Ansicht
Alt 08.07.2009, 23:48   #1
Starktonhorn

Silber-Mitglied
 
Benutzerbild von Starktonhorn
 
Name: Henning
Registriert seit: 26.05.2007
Ort: Region Hannover
Beiträge: 1.758
Standard 3.KL an RTK6

Mit wiel viel Ampere kann der Ausgang für die 3.KL belastet werden?

Wundert mich nur,dass ich keine Drehspiegelleuchten damit betreiben kann,
muss daran liegen,dass die Leitungen von dem Kabelbaum sehr dünn sind (ca. 0,5mm²).

Ist das normal, bzw. ist gewollt,dass man die über ein zusätzl. Relais laufen lässt?




Malü Malü!
Starktonhorn ist offline   Privat Nachricht senden Mit Zitat antworten
Alt 08.07.2009, 23:53   #2
GinTonic

Gold-Mitglied
 
Benutzerbild von GinTonic
 
Name: Matthias
Registriert seit: 22.03.2009
Beiträge: 2.546
Standard

Also bei uns hat das wunderbar funktioniert....
Wir haben 2 mal H1 lampen angeschlossen. OHNE Relais.

Das klingt iwie nach nem zu dünnen Kabel bzw irgendeinem Verkablungsfehler.
GinTonic ist offline   Privat Nachricht senden Mit Zitat antworten
Alt 09.07.2009, 00:03   #3
Starktonhorn

Silber-Mitglied
hat dieses Thema eröffnet
 
Benutzerbild von Starktonhorn
 
Name: Henning
Registriert seit: 26.05.2007
Ort: Region Hannover
Beiträge: 1.758
Standard

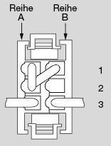
Belegung ist genau wie hier,ausser,dass ich an B2 auch noch eine Leitung habe.

http://sosi.myds.me/forum/showthread.php?t=3580




Malü Malü!
Starktonhorn ist offline   Privat Nachricht senden Mit Zitat antworten
Alt 09.07.2009, 00:05   #4
GinTonic

Gold-Mitglied
 
Benutzerbild von GinTonic
 
Name: Matthias
Registriert seit: 22.03.2009
Beiträge: 2.546
Standard

schonma abgemacht? und dann ausprobiert?
GinTonic ist offline   Privat Nachricht senden Mit Zitat antworten
Alt 09.07.2009, 00:06   #5
Starktonhorn

Silber-Mitglied
hat dieses Thema eröffnet
 
Benutzerbild von Starktonhorn
 
Name: Henning
Registriert seit: 26.05.2007
Ort: Region Hannover
Beiträge: 1.758
Standard

Das Kabel aus dem Stecker?

Geht nicht,ist vergossen und angeschlossen war es bis jetzt noch nicht.




Malü Malü!
Starktonhorn ist offline   Privat Nachricht senden Mit Zitat antworten
Alt 10.07.2009, 18:47   #6
Hella_RTK6-SL

Silber-Mitglied
 
Benutzerbild von Hella_RTK6-SL
 
Name: Kai
Registriert seit: 22.02.2006
Ort: Freigericht (Hessen)
Beiträge: 1.530
Standard

Ich glaube zwei H1 Lampen sind bissie viel. Das vergossene ist nur Heißkleber, klässt sich auspulen.




Gruß
Kai
Hella_RTK6-SL ist offline   Privat Nachricht senden Mit Zitat antworten
Alt 10.07.2009, 23:42   #7
Blaulicht

Gold-Mitglied
 
Benutzerbild von Blaulicht
 
Name: Marcel
Registriert seit: 11.12.2003
Ort: Oberthal / SAAR
Beiträge: 13.739
Standard

Zitat:
Zitat von Starktonhorn Beitrag anzeigen
Mit wiel viel Ampere kann der Ausgang für die 3.KL belastet werden?

Wundert mich nur,dass ich keine Drehspiegelleuchten damit betreiben kann,
muss daran liegen,dass die Leitungen von dem Kabelbaum sehr dünn sind (ca. 0,5mm²).

Ist das normal, bzw. ist gewollt,dass man die über ein zusätzl. Relais laufen lässt?

Da hast du irgendwas falsch angeklemmt. Für Ausgang KL 3 und 4 braucht man keine Relais. Ich bau ständig die Kabel, und klemme eine KL an. Nur B2 braucht man nicht, wieso ist B2 angeschlossen bei dir ??
Blaulicht ist offline   Privat Nachricht senden Mit Zitat antworten
Alt 11.07.2009, 19:04   #8
Starktonhorn

Silber-Mitglied
hat dieses Thema eröffnet
 
Benutzerbild von Starktonhorn
 
Name: Henning
Registriert seit: 26.05.2007
Ort: Region Hannover
Beiträge: 1.758
Standard

Habe gerade nochmal geguckt.

Belegung ist identisch mit der auf dem Bild.

Ausser,dass B2 nicht frei ist,sondern noch ein Kabel ist,
welches ich aber nicht angeschlossen habe.

Verkabelung ist auch richtig.
Angehängte Grafiken
 




Malü Malü!
Starktonhorn ist offline   Privat Nachricht senden Mit Zitat antworten
Antwort


Forumregeln


Alle Zeitangaben in WEZ +2. Es ist jetzt 12:50 Uhr.

Powered by vBulletin® Version 3.8.11 (Deutsch)
Copyright ©2000 - 2026, Jelsoft Enterprises Ltd.