Zurück   www.sondersignalanlagen.com > Dachbalken > US-Balken & Import
Kennwort vergessen?

Hinweise

 
 
Themen-Optionen Ansicht
Prev Vorheriger Beitrag   Nächster Beitrag Next
Alt 01.01.2010, 14:12   #1
kapo

Gold-Mitglied
 
Benutzerbild von kapo
 
Registriert seit: 28.03.2006
Ort: Kanton Zürich
Beiträge: 3.669
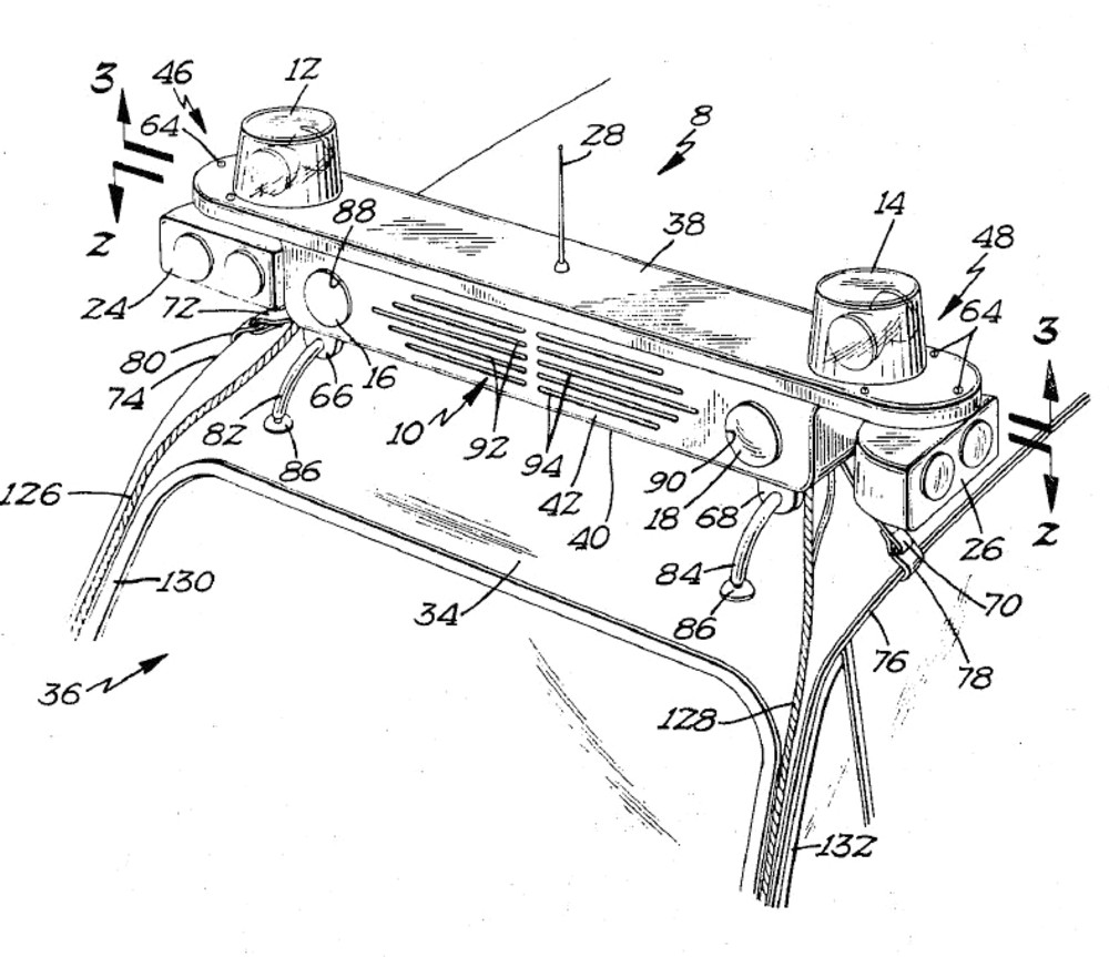
Standard US-Lightbar 1972

Aus einer Patentschrift
hier als Pdf-Datei

Wer Muse hat:

Auf www.freepatentsonline.com
unter den Stichwörtern: lightbar, rotating beacon, warning lights, rundumkennleuchte,etc.

finden sich sämtliche zum Patent angemeldete Warnbalken/RKL in Patentbeschreibung und Masstabszeichnung.
Also z.B.auch die Hella Rotaflex
Miniaturansicht angehängter Grafiken
Klicke auf die Grafik für eine größere Ansicht

Name:	Lightbar.JPG
Hits:	519
Größe:	158,2 KB
ID:	4727  
kapo ist offline   Privat Nachricht senden Mit Zitat antworten
 


Forumregeln


Alle Zeitangaben in WEZ +2. Es ist jetzt 10:14 Uhr.

Powered by vBulletin® Version 3.8.11 (Deutsch)
Copyright ©2000 - 2025, Jelsoft Enterprises Ltd.